
*视频相关由火山(微赞、微吼)提供服务支持
课程目录
比零代码初阶,中阶更考验业务理解、产品熟悉度、应用建模、SQL等综合技能。
本实操除最后的拔高章节外,均为零代码。
实操过程中遇到的疑问建议查阅达尔文ISV目录最新TOP白皮书相应章节或搜索关键字词。 (操练参考时长:3小时)。
目 录
T+TOP中阶实操:借还管理V3.0指引
理解蓝图应用数智诉求
搭建可识别菜单,如“JHw003”
搭建自定义档案
搭建实体,产生单据(了解移动端支持、API开放)
完善单据的公式计算、附件、校验,取值,更新
搭建单据流转和批量流转
搭建个性预警
零代码生成四类报表(列表、明细表、统计表、执行表)
挑战:零代码复杂算法+自由更新建模
拔高:体验和学习使用SQL数据源
请用自己的手机号建立专属沙箱(不要用他人的沙箱)-详细指引可参阅白皮书,此处省略。
开始借还管理模块应用TOP构建之旅!https://top.chanjet.com/
在借还管理应用2.0基础上优化的手工流程绘制略,目标3.0系统模块如下:
PS:SQL拔高挑战(不在此次指引范畴内,2024下半年零代码实现开发中),按往来单位/往来分类/存货/存货分类等任意指定的有规则的收费规则,定义租赁价格本,关联借入/借出单据,实现自动取单价,并在还回时计算整体时间(可精确到秒),计算出费用额。
需要定义菜单/模块
需要定义“借还类型、损坏原因”等档案
需要定义借还相应的实体/单据,并定义生单规则和回写策略,包括与出入库/收付款/订单等原生单据的关联
需要定义批量生单规则
以领取的JH两字母前缀在“智能供应链”下建立新的“模块”:(路径:TOP沙箱-开放平台-页面模型-模块)
然后在新建的“JHw003”下分别依序(后续不可调整顺序)建立“单据”、“报表”、“档案”3个菜单(可自行决定是否优化:报表可对“列表”和“执行表”单独建立存储菜单,SQL数据源报表单独再归一类,整体分布更加清晰。JH为分配的字母,对应替换即可)
新建完的菜单节点,可以在“详情”中预览和再操作,此刻其不会显示在右边,必须等对应节点下存放了实际“搭建的元素”后才会刷新显示出来。
我们要定义2个自定义档案,分别是“借还类型”和“损坏原因”。
借还类型档案就编码和名称两个字段即可;
损坏原因档案采取分类管理,除了默认编码和名称字段外,增加一个文本字段。
自定义档案默认带编码和名称两个字段,如需要添加其他字段列,可进行再设计,设计完后记得点菜单上的“发布”,后续实体单据才能引用到:
对“损坏原因”档案进行“分类”管理,并在自定义档案的“设计”中对其增加一个“损坏界定标准”的文本字段,然后发布:
按蓝图增加“借入”、“借入还出”、“借出”、“借出还入”、“借出定损”、“借入定损”等实体,然后对应生成相应的用户前端操作的单据。
请注意以固定以“JH”作为前缀的标记点,后续会发现其中好处。
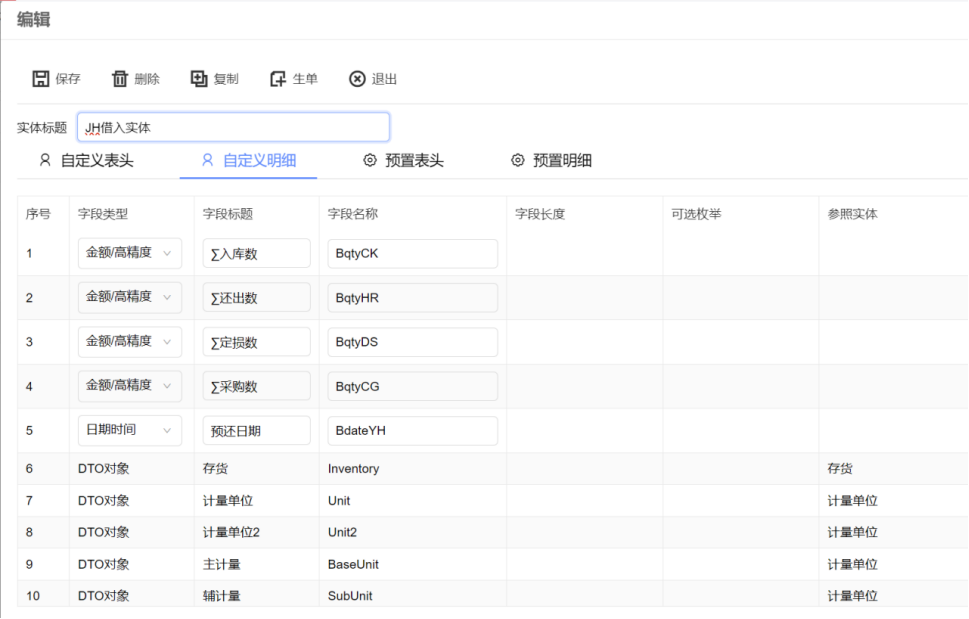
借出实体表头:
借出实体表体(定义预留回写字段,不要修改或删除DTO存货带出的任何字段):
存货DTO自动带出的字段未做截图,默认即可。
借入单实体可复制借出单实体,然后对部分字段进行修改即可(注意修改部分——所做的修改是为了日后数据库层面便于阅读理解)。
借入实体表头:
借入实体表体:
存货DTO自动带出的字段未做截图,默认即可(不要做任何修改删除动作)。
JH借入还出实体(可复制其上游的借入实体进行修改)
表头:
表体:
存货DTO自动带出的字段未做截图,默认即可。
借出还入实体
表头:
表体:
JH借入定损
表头:
表体:(此处故意缺少了一个转销售订单的回写字段,用于体验已经生成单据再增加实体字段,后续会操练到,定损机构参照往来单位DTO)
借出定损实体完全复制借入定损实体,进行命名即可保存。
全部实体新增完毕,每个实体后显示了数据库物理表名,可观察其规律:(表名生成规律)
将以上自定义实体对应生成相应的前端T+用户操作单据:
对应实体生成前端单据,并存放在预先定义的菜单节点下:
对所有单据进行“移动端支持”,同时开放API,只需逐条勾选单据然后进行表头对应按钮操作即可。
对单据进行设计,所有附件的,在单据设计中修改为附件类,日期需要精确到时分秒的,也是在此设置。
如果做单据的时候发现实体要增加新的字段,不用删除单据,在实体新增好后,在单据设计中-新增中查询参照出来,然后保存即可,参考销售订单实体新增字段后的单据新增:
PS:
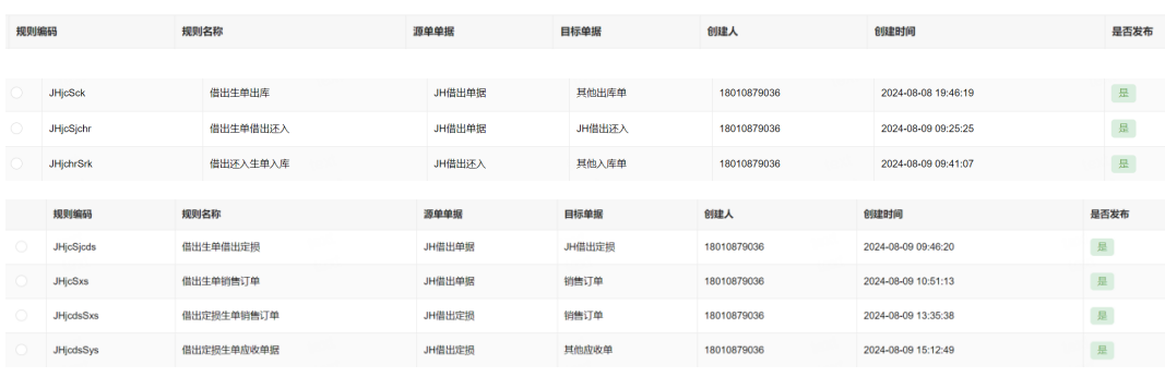
按蓝图定义单据间流程(不含批量生单,14个):
借入-->采购订单
批量生单规则和执行表依赖于先完成生单规则的定义。
针对“借出单据”增加一个“单价”不得等于0的校验,为后续流转销售订单做准备(原生单据必须提供单价,注意研发和业务在所谓概念理解的合理性冲突:单价理论上允许负数)。
在单据设计的明细设置中,对“借出单据”的四个累计回写字段(带∑前缀的)设置“只读”且“用户不可设置”,即达到只能由TOP回写,用户无法输入的效果。
逐一设置单据间生单规则:
PS:
尽可能将表头和表体相应字段能映射都映射过去,尤其是单价/税额/金额等字段。设置完可立即在沙箱内做各种情形的数据录入测试,然后进行生单流转测试,直到都正常。
生单规则编码继续用相应的固定前缀,保持这样的习惯,后续发布就能知道其中好处了。
允许超量这块,本应用全部进行控制不允许,即不勾选
回写策略与表体的公式是依赖关系:
回写公式简要说明:被生单的目标单据上的“数量”会回写到源头单据事先定义好的“累计被回写字段”中,下次生单时,目标单剩余可执行数量=源头单数量-累计被回写数量。
其他同理,不再截图:(注意推敲以下公式的逻辑细节,为什么数量公式计算是这些字段?)
提示:可还入量要考虑总出库量、已经还入量、已经转销售量
各单据间生单规则都定义完成后,记得点上面菜单上的发布,才关联到相应的单据上。
安装到目标环境后,有规则不显示的情况,可对单据上的工具栏进行恢复默认设置即可。
对“借出定损”表体缺漏的生单销售回写字段进行再补充,直接在实体先新增,然后在单据设计新增中参照出来保存即可。
借出定损实体明细新增缺漏字段:用于存储累计回写
实体增加完成后,在单据设计中对应以下顺序操作即完成单据中的添加:
借入定损同样操作。
PS:如果单据已经做了数据,沙箱内无法再翻找到历史单据(实际后台还在),正式环境不影响(依旧可以翻找到)。
体验自由取值
考虑数据安全性,目前针对原生单据,仅限于DTO实体新增的字段可以设置取值/更新规则。
然后在“页面模型”-“原生单据”中对原生单据在沙箱中新增的字段设置联动取值或更新公式(必须是沙箱内新增的字段,不是原生系统单据设计中新增的字段,注意区分)。
原生实体增加的字段,和TOP单据实体一样,对应的单据也要前端参照显示出来:
对销售订单新加的“约定赔率”设置取值,此处只是一个示例,对于有生单关系的,可以在生单规则中直接映射即可带过去,而对于没有生单关系的任何单据取值,此处介绍的方法均适用:(但可以对比下,与映射相比,取值有什么不同,有什么优势?)
PS:取值是可以在审核后依然能操作的,且不依赖于生单/转换规则,任意取值,更新相同。
批量生单规则,先建立常规生单规则,然后再指定批量生单规则,记得点菜单上的发布:
此处列出一个示例,其他预警自由发挥:
明细表和统计表是强制存放在对应单据后,列表和执行表是可以另行决定存放路径,同时执行表是必须有生单规则才能生成,且只能生成一级执行表。
提前准备好一个“已激活的T+账套企业ID”或者是“用通卡支撑运行的19.0及以上版本的”T+产品环境(含专属云,Online)。
进入开放平台声明一个TOP序列号,注意,进入开放平台选择的企业与即将授权的目标账套没有任何关系。
你将会发现,和总部研发一样,养成系统的编码命名习惯,好处多多,此处一眼即可识别哪些是本次要打包的——如打包缺漏控件,肯定运行出问题,尤其是二次更新,更不要缺漏!
安装与更新
二次打包,务必是增量打包,不得修改原来老的搭建,只能是不断新增,且不要遗漏。
涉及SQL的都要人工审核,发布后耐心等待审核,审核后才能安装,只要是涉及到SQL数据源,每一次打包发布都需要再一次人工审核。
二次更新的,目标正式环境先进行卸载,然后再安装即可——只要是增量发布,原来数据不影响。
一批物料借出,有正常还入,有定损赔偿再还入,有损坏转销售,有正常转销售,如何控制剩余销售量/还入量上限?
借出实体表体增加字段,并完善到单据表体,用以记录“总售卖数”
借入实体表体增加字段,并完善到单据表体,用以记录“总采购数”
提示:将“借出单据编号”存储到“销售订单备注中”-包括定损转售时(思考如何实现),然后针对“原生单据”表体的数量字段设置“联动更新”,回写“借出单据”对应的表体,即“∑定损转售”字段同时存储了借出转销售时的数量回写+借出定损转销售时的数量。
PS:更新的条件要精准,本例中单号和存货是可明确溯源的2个条件。
执行给定SQL数据源实现自由取值计算、个性报表输出、移动端报表体验等(可跳过“挑战”环节直接体验),基础SQL可参阅白皮书相应章节。
以下语句都可以放入TOP数据源进行体验,重点是截图示例语句
请注意固定前缀字母JH的对应替换
关于TC数据字典的获取,参阅白皮书对应章节。
--选取借出实体表头物理表全部字段
select jch.code,jch.id,jch.voucherdate,jch.maker,* from TOP_JHJCST jch
--选取借出实体表体物理表全部字段,请注意实体中字段的一致性
select jcb.idjhjcst,jcb.id,jcb.BaseQuantity ,jcb.memo,jcb.bqtyck,jcb.bqtyhr,jcb.bqtyds,jcb.bqtycg,jcb.bqtydszs,* from TOP_JHJCSTmx jcb
--选取原生系统存货视图的全部字段
select sp.name ,sp.specification,* from AA_Inventory sp
--根据ID索引关系,将借出实体的表头/表体/存货档案等信息串联输出
select jch.code,jch.id,jcb.idjhjcst,jcb.id,jch.voucherdate,jch.maker,
sp.name ,sp.specification,
jcb.BaseQuantity ,jcb.memo,jcb.bqtyck,jcb.bqtyhr,jcb.bqtyds,jcb.bqtycg,jcb.bqtydszs
from TOP_JHJCST jch
inner join TOP_JHJCSTMX jcb on jch.id=jcb.idjhjcst
inner join AA_Inventory sp on sp.id=jcb.IdInventory
将以上“数据库查询分析器”能成功执行的的语句放入TOP数据源,体验TOP报错!
体验Select数据源:
正确语句注意区分以下颜色标记点:
--根据ID索引关系,将借出实体的表头/表体/存货档案等信息串联输出,请注意实体中字段的一致性。另报表命名不要带“select”关键字,会报警。
select jch.code,jch.id as jchid,jcb.idjhjcst,jcb.id as jcbid,jch.voucherdate,jch.maker,
sp.name ,sp.specification,
jcb.BaseQuantity ,jcb.memo,jcb.bqtyck,jcb.bqtyhr,jcb.bqtyds,jcb.bqtycg,jcb.bqtydszs
from TOP_JHJCST jch
inner join TOP_JHJCSTMX jcb on jch.id=jcb.idjhjcst
inner join AA_Inventory sp on sp.id=jcb.IdInventory
查询项从文本改为弹窗参照的设置,详细参阅白皮书报表查询项设置章节。
提示:控件类型、参照方案、返回值等要对应按需设置。
体验存储过程数据源:
对照以下格式,将以下语句放入即可,注意其与Select的区别。
Create PROCEDURE sp_jhglsl
@spname varchar(50),@userid varchar (50)
as
BEGIN
declare @tablename varchar (100)
if len (@userid)<>0 set @tablename = 'TEMP_0_RptDateTest' +'_' +@userid
else set @tablename = 'TEMP_0_RptDateTest'
exec( 'if exists(select name from sysobjects where id=object_id (N''' +@tablename +''' )
and OBJECTPROPERTY(id, N''IsUserTable'')= 1) drop table ' + @tablename)
--以上均为框架,分别是进行大并发的表区分和输出数据表的删除
--根据传入参数匹配自定义档案并选择指定的其他数据输出,请注意实体中字段的一致性
exec ('select jch.code,jch.id as jchid,jcb.idjhjcst,jcb.id as jcbid,jch.voucherdate,jch.maker,
sp.name ,sp.specification,
jcb.BaseQuantity ,jcb.memo,jcb.bqtyck,jcb.bqtyhr,jcb.bqtyds,jcb.bqtycg,jcb.bqtydszs
into ' + @tablename + '
from TOP_JHJCST jch
inner join TOP_JHJCSTMX jcb on jch.id=jcb.idjhjcst
inner join AA_Inventory sp on sp.id=jcb.IdInventory where sp.name = ''' + @spname + '''')
END
即日起可报名参加线上第三届伙伴低代码高级实训,进行TOP和智搭双低代码平台体系化赋能学习(8月20日——9月20日)
同步可参加畅捷通全国首届生态大赛(7月报名,8-9月初赛,9-10月复赛,11月公布结果)
扫码了解大赛详情或对接畅捷通全国各办事处一线顾问详细咨询
版权声明:本网站发表的全部原创内容(包括但不限于文字、视频、图片等)著作权均归畅捷通社区所有。未经授权许可,观众用户不得以任何载体或形式使用当前的内容。