TOP单据预警消息设置
【问题现象】:在TOP里面增加一个借出单据,在系统日期大于单据日期后,还没有生成借出还入单据有一个预警提示,这样的预警应该怎么设置。
【解决方案】:1.在增加top单据借出单据时候增加一个字段叫做总还入数字段,根据借出还入的单据的数量反写,设置累加规则。
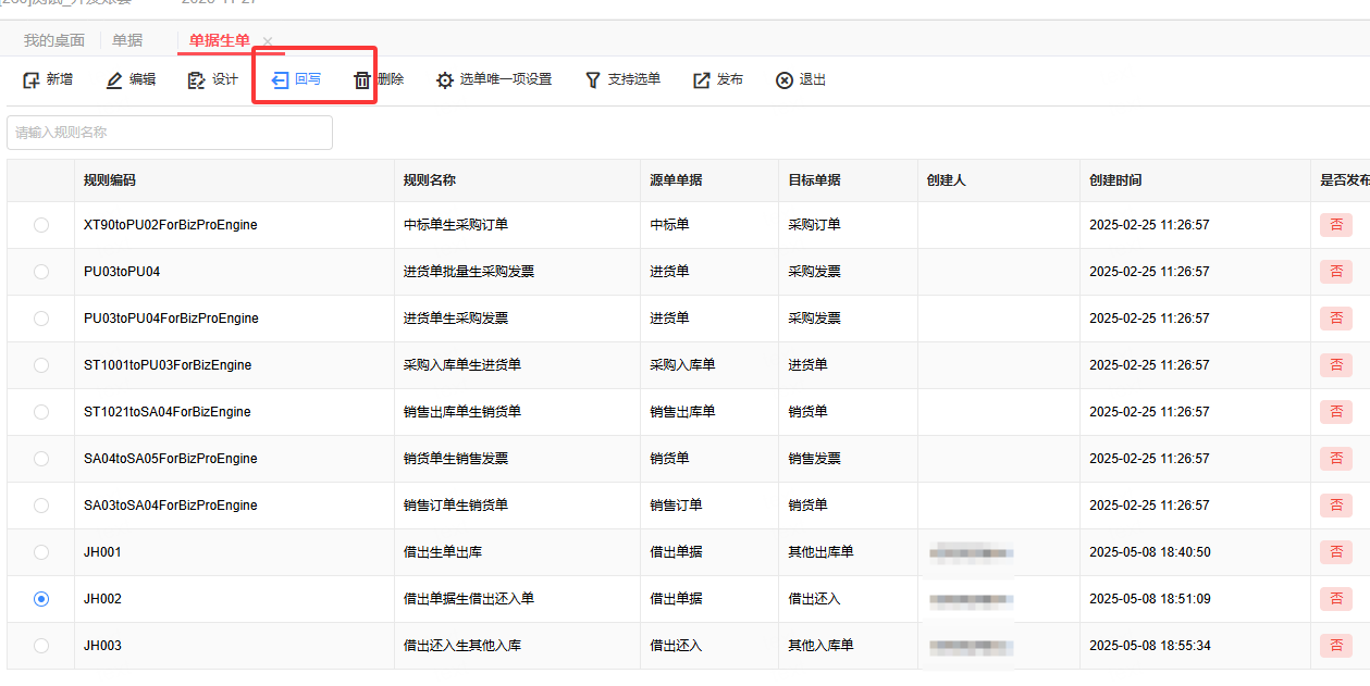
在生单规则的映射/公式,尤其是带“数量”回写上游单据的,回写依赖于以下截图中的公式设置:(按名称一键匹配能快速匹配一部分,剩余自行补充上),被生单的目标单据上的“数量”会回写到源头单据事先定义好的“累计被回写字段”中,下次生单时,目标单剩余可执行数量=源头单数量-累计被回写数量,流程设置完成之后点击发布发布对应的生单规则



2:在页面模型里面的预警里面设置对应的预警消息,来源类型选择自定义单据,单据选择自己自定义的借出单据,选择你对应要进行对比进行预警的字段(例如预警标的字段选择单据日期,对比字段选择系统日期)这个时候是所有单据进行预警的,这个时候点击预警条件,选择数量和总还入数,预警比较符选择小于,这个条件相当于是在数量小于总还入数就才会预警,全部生成后续借出还入单据的借出单据就不会预警了



作者:陈万笑 |  时间:2025年11月27日 20:53
对我有用
没有帮助